
技术商业化亮点
Targenomix
核心技术价值
以监督式机器学习方法等机器深度学习技术为核心的,结合数字光学传感技术开发出能够在实验室条件下快速、经济的高通量目标作物保护小分子化合物筛选开发平台
产业痛点锚定
1)从整体农业生产方面,农作物面临范围越来越广泛的生物和非生物胁迫,对世界农业产生重大影响,种植者迫切需要更有效的新作物保护解决方案,以进一步提高收获农产品的产量和质量
2)在作物保护抗药性方面,应对作物保护产品产生抗药性的问题越来越重要,但由于不同的作物保护化合物可能存在相同的作用位点或作用方式。重复使用相同的化合物或不同化合物共用相同的作用位点和作用方式将会加剧抗药性的发生,因此明晰作物保护化合物如何影响作物也变得更为重要
应用场景选择
Targenomix持续聚焦于作物保护和作物健康领域有效安全小分子化合物的开发,未来在虫害治理、病害治理、除草剂等方面均有潜在商业化空间
市场探索进程
1)在产品研发方面,Targenomix发现和开发了30年来业界首个用于控制广亩杂草的新芽后除草剂作用模式,预计将在5-8年内实现商业化
2)在行业合作方面,Targenomix长期与拜耳公司建立合作,并于近期被拜耳收购整合,未来其将在公平经营的基础上,持续进行作物保护领域的创业与研究
国内借鉴意义
1)机器深度学习与植物分子生物学共同驱动的小分子化合物农药筛选开发作为一项具备创新可持续性的技术,值得关注其在更广泛的农业领域蕴藏的发展潜力
2)在初始阶段积极与行业大企业搭建良性合作关系,充分借力大企业资金、技术等方面的强大资源,有助于更快速建立起自身核心技术优势的同时,保证技术和产品的市场可行性
3)国外成熟完善的技术成果转化体系,加速着潜力型技术向市场的转化,促进创业企业创新发展正向循环的同时,也带动着整体产业更可持续更快速的进步
近日,拜耳宣布收购德国生物技术初创公司Targenomix,该公司由马克斯普朗克分子作物生理学研究所衍生,利用系统生物学和计算生物科学工具,建立起高通量的作物保护化合物分子发现平台,以不断识别和选择安全和可持续的作物保护化合物。
以机器深度学习为核心的高通量小分子化合物筛选开发平台
图源:Targenomix技术平台专利文书
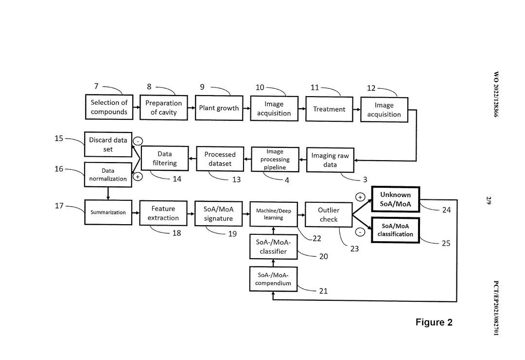
Targenomix所建立的作物保护化合物分子高通量发现平台能够在实验室条件下快速、经济地筛选开发目标化合物。该平台技术路线主要包括图像数据的采集、数据的标准化处理以及深度学习三大环节:
■ 材料选择与预处理
已知SoA和/或MoA的植物材料/化合物为后续的机器深度学习提供起始的数据积累。在该环节中,植物材料/化合物的选择可以是一种或多种已建立SoA和/或MoA的物质或未表征的物质。而在高度受控的环境条件下生长的植物材料是分析化学物质处理对植物材料产生的影响的基础,因此需要对植物材料进行预生长处理。
■ 图像数据采集
在该环节中,主要围绕包括高光谱VIS传感器、高光谱NIR传感器、叶绿素荧光传感器在内的五项数字光学传感器,对作物材料/化合物的数据进行采集,这些传感器可以记录具有广谱和高分辨率的数字成像数据,例如可以表征作物材料的表型。采集的执行通过一个或多个传感器相结合来完成。
■ 数据标准化
在上一环节形成原始数据集后,需要对未处理的、未发芽的、受污染的或处理前生长不佳的作物材料数据进行筛选,这些材料的数据将被丢弃,不进行进一步分析。而过滤后的数据将进行数据标准化处理,标准化处理过程还需利用处理作物材料表型数据的混合效应模型消除其中的混杂因素。
■ 机器深度学习
规范化数据被进一步汇总处理后,平台将对最相关的表型特征进行提取。在对特征数据进行归整后,训练算法以预测发现SoA和/或MoA。
据资料显示,在此环节中,使用具有已知SoA和/或MoA的化学物质对于正确训练和验证算法是至关重要的。已知化学物质的SoA和/或MoA组成的数据用于训练SoA-和/或MoA分类器。而在训练阶段获得的数据则用于构建数学分类模型,该模型经过训练后,利用监督式的机器学习方法(包括例如随机森林算法或支持向量机)来预测化学物质的有效SoA和/或MoA,然后将这些数据存储在SoA和/或MoA概略中。
此外,在深度学习过程中,如果数据不匹配任何存储数据(异常值)的情况下,将作为未表征的(潜在的新颖的)SoA和/或MoA被检测到。
成熟孵化体系助力关键资源导入,产学研相结合赋能企业快速成长
■ 产业合作绑定行业大企,借力资源打造自身核心技术
图源:网络
在产业链上下游合作触达方面,Targenomix自2014年以来一直和拜耳合作,在合作关系的支持下,Targenomix发现和开发了30年来业界首个用于控制广亩杂草的新芽后除草剂作用模式。该分子已在研究中证明了对关键抗性草的有效控制,预计将在5-8年内实现商业化。
在此过程中,能够看到,Targenomix在创业早期与大企业建立深度绑定,借助大企业在资金、技术、人才等资源方面的强大优势,积极打造自身具有竞争优势的核心技术平台,有利于其在后续商业化进程中行业影响力的快速提升。
■ 源自前沿分子作物生理学研究所,团队人才覆盖多学科背景
图源:Targenomix官网
在Targenomix的人才团队组建中,大多数成员均有马克斯普朗克分子作物生理学研究所工作或教育经历,专业学科背景覆盖遗传学、分子生物学、生物化学、细胞生物学以及系统和计算生物学等广泛学科的人才。
■ 成熟孵化体系促进产学研相结合,带动技术商业化正向循环
图源:Max-Planck-Innovation GmbH官网
Targenomix技术商业化过程中在产业链合作与团队搭建方面进行的工作,与其早期孵化机构马克斯普朗克学会的技术转让组织Max-Planck-Innovation GmbH存在密切联系。
Targenomix创始团队来自于马克斯普朗克分子作物生理学研究所,而Max-Planck-Innovation GmbH除了在前期主导Targenomix孵化以外,该组织还为Targenomix提供拜耳的大企业资源导入以及马克斯普朗克分子作物生理学研究所的人才输送等赋能技术商业化的工作。
在此过程中,值得国内行业借鉴的是Targenomix的技术商业化过程充分将产学研相结合:在研究所技术成果转化组织的辅助下,逐步形成自身稳定的技术体系和商业体系,产生更多人才需求,进而引进来自于研究所的科研人才,而人才的引入也进一步赋予了Targenomix更多创新源动力。
知耕Tech
商业成熟度CML评估模型
农药在保证全球粮食、食品和生态安全方面具有重要意义。在全球人口数量增加,粮食需求不断加大,环境可持续发展日益受到关注的全球大环境推动下,减少农药抗性对作物保护带来的影响,开发更多更有效更安全的小分子化合物产品在未来有着广阔的市场发展空间。使用高性能计算和人工智能、机器学习等新技术和新方法,可以提高发现新农药的效率,为这一领域的长期创新与成长带来更多潜在的机会。
Targenomix是利用机器深度学习技术促进和加速小分子化合物成分开发的创新力量代表。海外更多致力于小分子农药产品开发的创新企业还包括Enko Chem、Peptyde Bio、Lavie Bio等,国内能够看到中农颖泰集团致力于小分子抗菌肽的开发,已广泛应用于医药、化妆品等领域。知耕持续关注AI驱动的农药有效成分开发赛道的长足发展,期待陪伴更多参与者共同推进该领域的商业化进程。
MoA:定义为化学物质对作物材料的影响。化学物质与作物材料的任何分子靶标的每一次相互作用都包含在该术语下,导致生理过程发生改变或紊乱,从吸收开始到作物材料对化学物质的反应结束
SoA:特别描述的是特定的生化相互作用,通过这种相互作用,所应用的化学物质通过任何生物学手段表现出其表型效应。这可以是但不限于调节蛋白质活性和/或细胞过程和/或结构。一种MoA可能由一种或多种SoA引起。例如,影响作物生长的一种MoA是超长链脂肪酸 (VLCFA) 生物合成。存在负责此MoA的多个SoA,并且可以是例如VLCFA合成酶或VLCFA延长酶抑制剂。两个示例的SoA导致相同的MoA,但影响作物材料内的不同合成过程
往期链接
